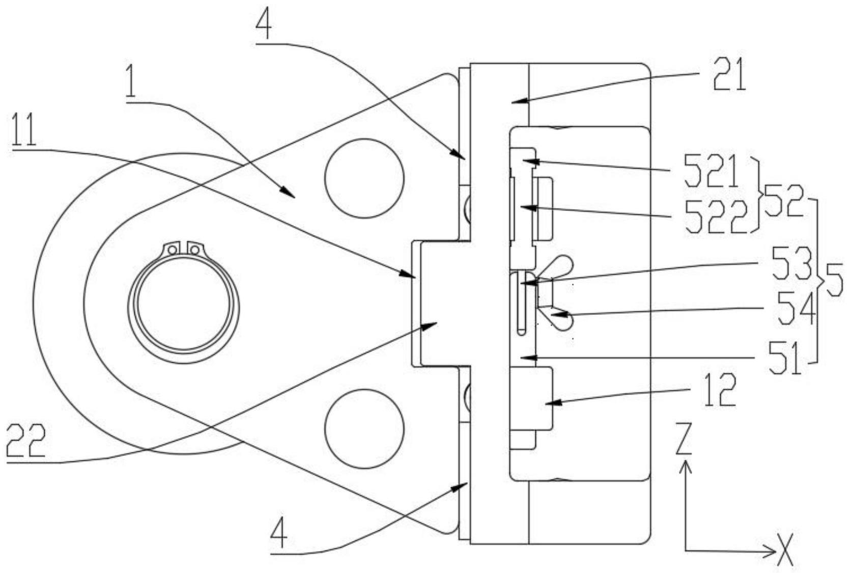
夾持塊或
3866031677夾持塊3806091078夾持塊3806014610夾持塊3806039917夾持塊3806053257夾持塊3806075089寸大管徑連續油管作業橇組卡瓦維修
歡迎聯系交流,維修以下業務: 夾持塊座,連續油管作業車維修,卡瓦,鉆井試油車維修,夾持塊1.75夾持塊,1.25夾持塊,1.5夾持
塊,2寸夾持塊卡瓦鏈條,夾持塊座,Clamping block,grip block,Coiled tubing truck,連續油管車打滑維修,試油車維修,修井,三
一,海德瑞格,科瑞,江漢所,歡迎需要維修交流,鉆井采油配件維修試油夾持塊修整卡瓦H580夾持塊維修CD310337,1.75寸夾持塊
CD310341,2.375寸夾持塊CB318979軸承CB318981鏈條CD3103351.5寸CB310064軸承夾持塊座CD310339 2寸海迪瑞克HR680注入頭1.50
卡瓦CD310335HR560夾持塊修井工程技術服務HR240夾持塊HR580夾持塊座連續油管采油連續管作業機配件連續管作業機夾持塊夾持
塊JRC450江漢夾持塊注入頭夾持塊夾持塊1.5A夾持塊2.375A夾持塊1.5B夾持塊1.75A夾持塊2A夾持塊2.625夾持塊2.375夾持塊2夾持
塊3806052996夾持塊3806053477夾持塊3806013048夾持塊3806055838夾持塊3806052997夾持塊3802046423夾持塊3806052994夾持塊
3806039918夾持塊3806087327夾持塊3866052995夾持塊3806095433夾持塊3809052993夾持塊3806053479夾持塊3806075090夾持塊
- 上一篇:維修夾持塊
- 下一篇:夾持塊座,連續油管維修
詢價




